Llegiu les instruccions següents abans de substituir els cartutxos de tinta.
Guardeu els cartutxos de tinta a la temperatura normal de l'habitació i mantingueu-los allunyats de la llum solar directa.
Epson recomana utilitzar el cartutx de tinta abans de la data impresa al paquet.
Per obtenir els millors resultats, guardeu els paquets de cartutxos de tinta amb la part inferior cap avall.
Després de treure un cartutx de tinta emmagatzemat en un lloc a temperatura freda, deixeu-lo que s’escalfi a la temperatura ambiental pel cap baix 12 hores abans de fer-lo servir.
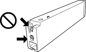
No toqueu les seccions que es mostren a la il·lustració. Fer-ho podria afectar el funcionament i la impressió normal.

Per poder imprimir cal instal·lar tots els cartutxos de tinta.
No apagueu la impressora durant el carregament de tinta. Si el carregament no es completa, no podreu imprimir.
No deixeu la impressora amb els cartutxos de tinta retirats ni apagueu la impressora durant la substitució del cartutx. Si ho feu, la tinta que pugui haver als injectors del capçal d'impressió s'assecarà i no podreu imprimir.
Si heu de retirar un cartutx de tinta temporalment, protegiu l’àrea de subministrament de tinta de la pols i la humitat. Deseu els cartutxos de tinta en el mateix entorn que la impressora, amb el port de subministrament de costat. Com que el port de subministrament de la tinta té una vàlvula la finalitat de la qual és contenir l’excés de tinta, no calen cobertes ni taps.
Els cartutxos de tinta extrets poden tenir tinta al voltant del port de subministrament; per tant, quan els traieu aneu amb compte de no tacar els voltants.
Aquesta impressora utilitza cartutxos de tinta equipats amb un xip verd que controla la quantitat de tinta que fa servir cada cartutx. D’aquesta manera, encara que el cartutx de tinta es tregui abans que s’hagi gastat, el podeu continuar fent servir després d’haver-lo col·locat de nou a la impressora.
Per garantir que rebeu la millor qualitat d'impressió i per protegir el capçal d'impressió, quan la impressora indica que heu de canviar el cartutx, encara hi roman una quantitat de tinta de reserva. Les quantitats que s'indiquen al comprador no inclouen aquesta quantitat de reserva.
Encara que els cartutxos poden contenir materials reciclats, la funció i el rendiment del producte no es veuran afectats.
Les especificacions i l'aspecte del cartutx de tinta estan subjectes a canvis sense previ avís per a fer-hi millores.
No desmunteu ni modifiqueu el cartutx de tinta; és possible que no pugueu imprimir amb normalitat.
Les quantitats que s'indiquen varien segons les imatges que imprimiu, el tipus de paper que utilitzeu, la freqüència d'impressió i les condicions ambientals, com ara la temperatura.
No el deixeu caure ni el colpegeu contra objectes durs, o la tinta es podria filtrar.
Per tal de mantenir un rendiment òptim del capçal de la impressora, es consumeix una determinada quantitat de tinta de tots els cartutxos no solament durant la impressió, sinó també durant les operacions de manteniment com ara la neteja del capçal.
La tinta dels cartutxos de tinta inclosos amb la impressora s'utilitzen parcialment durant la instal·lació inicial. Per obtenir impresos d'alta qualitat, el capçal d'impressió de la impressora haurà d'estar totalment carregat de tinta. Aquest procés, que només es realitza una vegada, consumeix tinta i, per això, aquests cartutxos imprimiran menys pàgines que els cartutxos que utilitzeu les vegades següents.