
|
No. |
Element opcional |
Descripció general |
|---|---|---|
|
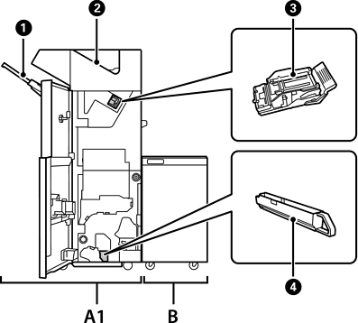
A1 |
Staple Finisher |
Classifica i grapa el paper abans d'expulsar-lo. Perfora els forats amb la unitat de perforació de forats opcional. |
|
B |
Finisher Bridge Unit |
Per utilitzar el finalitzador de grapat o el finalitzador de fulletons heu d'instal·lar el finalitzador amb unitat de pont. |
|
|
Safata del classificador |
Recull documents classificats o grapats. |
|
|
Safata de sortida |
Principalment emmagatzema els faxos rebuts. |
|
|
Cartutx de grapes |
Per a enquadernació plana. |
|
|
Safata dels residus de perforació |
Recull els residus dels forats perforats. |