
|
Č. |
Volitelná položka |
Souhrn |
|---|---|---|
|
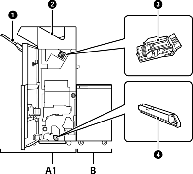
A1 |
Staple Finisher |
Třídí a sešije papír před vysunutím. Vyděruje otvory pomocí volitelné děrovací jednotky. |
|
B |
Finisher Bridge Unit |
Chcete-li provozovat finišer se sešívačkou nebo finišer na brožury, musíte nainstalovat jednotku mostu pro finišer. |
|
|
Zásobník finišeru |
Zde jsou umísťovány roztříděné dokumenty nebo dokumenty se svorkami. |
|
|
Výstupní zásobník |
Většinou slouží k uložení přijatých faxů. |
|
|
Kazeta se sponkami |
Pro ploché sešívání. |
|
|
Zásobník na odpad z děrování |
Slouží k zachycení odpadu po děrování. |