
|
Nr. |
Optionales Zubehörelement |
Überblick |
|---|---|---|
|
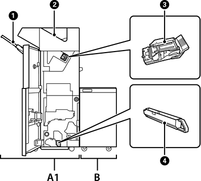
A1 |
Staple Finisher |
Sortiert und stapelt Papier vor dem Auswerfen. Locht mithilfe der optionalen Lochstanzeinheit. |
|
B |
Finisher Bridge Unit |
Um den Heft-Finisher oder Broschüren-Finisher zu betreiben, müssen Sie die Finisher-Brückeneinheit installieren. |
|
|
Finisher-Fach |
Zur Aufnahme sortierter oder gehefteter Dokumente. |
|
|
Ausgabefach |
Hauptsächlich als Ablage für empfangene Faxsendungen. |
|
|
Heftpatrone |
Für Flachstich. |
|
|
Stanzabfallbehälter |
Zum Auffangen von Stanzabfällen. |