
|
Nro. |
Lisätarvike |
Yhteenveto |
|---|---|---|
|
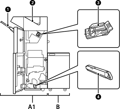
A1 |
Staple Finisher |
Lajittelee ja rei'ittää arkit ennen niiden luovutusta. Rei'ittää arkit käyttäen valinnaista rei'itinyksikköä. |
|
B |
Finisher Bridge Unit |
Viimeistelijäsilta on asennettava, jotta voit käyttää nitoja- tai vihkoviimeistelijää. |
|
|
Viimeistelytaso |
Lajiteltujen tai nidottujen tulosteiden luovutustaso. |
|
|
Luovutustaso |
Pääasiassa tallentaa vastaanotettuja fakseja. |
|
|
Niittikasetti |
Käytetään tasosidonnassa. |
|
|
Rei'itysjätetaso |
Kerää rei'itysroskat. |