
|
No |
Élément en option |
Description |
|---|---|---|
|
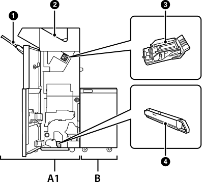
A1 |
Staple Finisher |
Trie et agrafe le papier avant de l’éjecter. Agrafe des trous à l’aide de l’unité d’agrafage de trous. |
|
B |
Finisher Bridge Unit |
Pour utiliser le finisseur d’agrafage ou le finisseur de livrets, vous devez installer l’unité de transport de finisseur. |
|
|
Magasin du finisseur |
Contient les documents triés ou agrafés. |
|
|
Bac de sortie |
Reçoit principalement les fax reçus. |
|
|
Cartouche d’agrafage |
Pour l’agrafage à plat. |
|
|
Bac de déchets de perforations |
Recueille les déchets de trous de perforation. |