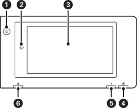
> Guide du panneau de commande > Panneau de commande

Panneau de commande

Bouton d’alimentation Voyant d’alimentation

Bouton Accueil

Permet de retourner à l’écran d’accueil.

Écran tactile

Affiche les éléments de paramétrage et les messages.

Lorsqu’aucune opération n’est effectuée pendant un certain délai, l’imprimante passe en mode veille et l’écran s’éteint. Pour activer l’écran, appuyez n’importe où sur l’écran tactile. En fonction des réglages actuels, appuyer sur le bouton d’alimentation fait sortir l’imprimante du mode veille.

Voyant de données

Clignote lorsque l’imprimante traite des données et s’allume lorsque des tâches sont en attente de traitement.

Voyant d’erreur

S’allume ou clignote en cas d’erreur.

Affiche les erreurs sur l’écran.

Voyant de réception de télécopie

S’allume lorsque des documents reçus n’ont pas encore été traités.

Vous pouvez modifier l’inclinaison du panneau de commande.