
|
מספר |
פריט אופציונלי |
סקירה כללית |
|---|---|---|
|
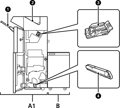
A1 |
Staple Finisher |
ממיין ומהדק את הנייר לפני פליטתו. מחורר חורים באמצעות יחידת ניקוב החורים האופציונלית. |
|
B |
Finisher Bridge Unit |
כדי להפעיל את מגמר ההידוק או את מגמר החוברות עליך להתקין את יחידת הגשר של המגמר. |
|
|
מגש מגמר |
מחזיקה מסמכים ממוינים או מהודקים. |
|
|
מגש פלט |
מאחסן בעיקר פקסים שנתקבלו. |
|
|
מחסנית סיכות הידוק |
עבור תפירה שטוחה. |
|
|
מגש פסולת חירור |
אוסף את שאריות חורי הניקוב. |