Bacalah petunjuk berikut ini sebelum mengganti kartrid tinta.
Simpan kartrid tinta pada suhu kamar normal dan jauhkan dari sinar matahari langsung.
Epson menyarankan penggunaan kartrid tinta sebelum tanggal yang tercetak pada kemasan.
Untuk hasil terbaik, simpan kemasan kartrid tinta dengan bagian bawah di sebelah bawah.
Setelah mengeluarkan kartrid tinta dari tempat penyimpanan bersuhu dingin, diamkan botol tinta di suhu ruangan selama sekurang-kurangnya 12 jam sebelum digunakan.
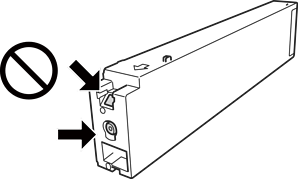
Jangan sentuh bagian yang ditunjukkan dalam gambar. Menyentuh bagian tersebut dapat mengganggu operasi dan pencetakan normal.

Pasang semua kartrid tinta; jika tidak, Anda tidak dapat melakukan pencetakan.
Jangan matikan printer saat pengisian tinta. Jika pengisian tinta belum selesai, Anda tidak dapat melakukan pencetakan.
Jangan meninggalkan printer dalam keadaan kartrid tinta dilepas atau jangan mematikan printer selama penggantian kartrid. Tinta yang tersisa di dalam nozel kepala cetak akan mengering dan Anda tidak dapat melakukan pencetakan.
Jika Anda perlu melepaskan kartrid tinta untuk sementara waktu, pastikan Anda melindungi daerah ink supply dari kotoran dan debu. Simpan kartrid tinta di tempat yang sama dengan printer, dengan port ink supply menghadap ke samping. Karena port ink supply memiliki katup yang dirancang untuk menahan keluarnya tinta sisa, Anda tidak perlu memasang penutup atau penyumbat lain.
Port ink supply dari kartrid tinta yang dilepaskan mungkin masih berisi tinta, maka hati-hatilah agar tinta tidak mengotori daerah sekitarnya saat Anda melepaskan kartrid.
Printer ini menggunakan kartrid tinta yang diperlengkapi dengan chip hijau yang memantau berbagai informasi, seperti jumlah tinta yang tersisa dalam setiap kartrid. Ini berarti, walaupun kartrid dilepaskan dari printer sebelum tintanya habis, Anda masih dapat menggunakan kartrid setelah Anda memasangnya kembali pada printer.
Pada saat printer menunjukkan saatnya pengisian tinta, ada persediaan tinta cadangan yang masih tersisa dalam kartrid untuk memastikan hasil cetak yang berkualitas tinggi dan untuk membantu melindungi kepala cetak. Perhitungan keuntungan yang akan Anda dapatkan tidak mencakup cadangan tinta ini.
Walaupun kartrid tinta mungkin mengandung bahan hasil daur ulang, namun hal ini tidak akan mempengaruhi fungsi atau kinerja printer.
Dalam rangka pengembangan produk, spesifikasi dan tampilan kartrid tinta mungkin dapat berubah tanpa pemberitahuan terlebih dahulu.
Jangan membongkar atau merombak kartrid tinta, karena akan menyebabkan hasil cetak yang tidak normal.
Keuntungan yang dikutip di sini mungkin berbeda, bergantung pada gambar yang Anda cetak, jenis kertas yang Anda gunakan, frekuensi pencetakan, dan kondisi lingkungan, seperti suhu.
Jangan menjatuhkan atau membenturkannya pada benda yang keras, karena tinta mungkin akan bocor.
Untuk mempertahankan kinerja kepala cetak yang optimal, printer akan menggunakan sejumlah tinta dari semua kartrid, bukan hanya saat pencetakan namun juga selama proses pemeliharaan, seperti pembersihan kepala cetak.
Tinta dalam kartrid tinta yang disertakan dalam printer Anda telah digunakan sebagian saat penyetelan awal. Untuk mendapatkan hasil cetak berkualitas tinggi, kepala cetak dalam printer Anda akan diisi penuh dengan tinta. Proses yang hanya dilakukan satu kali ini membutuhkan sejumlah tinta, sehingga kartrid tinta perdana ini mungkin mencetak lebih sedikit halaman dibandingkan kartrid tinta selanjutnya.