
|
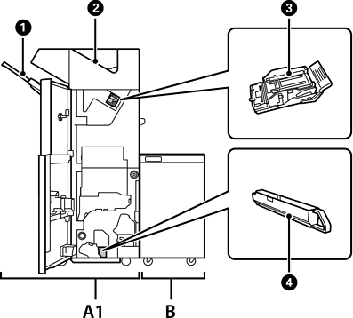
№ |
Қосымша элемент |
Шолу |
|---|---|---|
|
A1 |
Staple Finisher |
Қағазды шығармас бұрын сұрыптайды және қапсырады. Қосымша тескіш құралмен тесіктер жасайды. |
|
B |
Finisher Bridge Unit |
Қапсырғышпен немесе кітапша жасағышпен жұмыс істеу үшін, финишер құралын орнату керек. |
|
|
Финишер науасы |
Сұрыпталған немесе талшықты құжаттарды ұстайды. |
|
|
Шығыс науасы |
Негізінен алынған факстарды сақтайды. |
|
|
Қапсырғыш картриджі |
Тегіс тігуге арналған. |
|
|
Тескіш қалдықтарына арналған науа |
Тескіштің қалдықтарын жинайды. |