
|
|
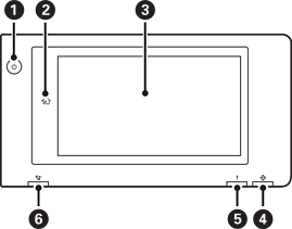
전원 버튼전원 표시등 |
|
|
홈 버튼 홈 화면으로 되돌아갑니다. |
|
|
터치 스크린 설정 항목 및 메시지를 표시합니다. 특정 시간 동안 아무 작업도 수행하지 않으면 프린터가 절전 모드로 전환되고 디스플레이가 꺼집니다. 화면을 켜려면 터치 스크린을 아무 곳이나 누르십시오. 현재 설정에 따라 전원 버튼을 누르면 프린터의 절전 모드가 해제됩니다. |
|
|
데이터 표시등 프린터가 데이터 처리 중 깜박이고 처리 대기 중인 작업이 있을 경우 켜집니다. |
|
|
오류 표시등 오류가 발생한 경우 켜지거나 깜박입니다. 오류가 있으면 화면에 표시합니다. |
|
|
팩스 수신 표시등 아직 처리되지 않은 문서 수신 시 켜집니다. |
제어판을 기울일 수 있습니다.
