
|
|
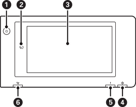
Maitinimo mygtukas Maitinimo lemputė) |
|
|
Pradžios mygtukas Grįžta į pradžios ekraną. |
|
|
Jutiklinis ekranas Rodo nustatymų elementus ir pranešimus. Jei tam tikrą laiko tarpą neatliekama jokia operacija, spausdintuvas pereina į miego režimą ir ekranas išsijungia. Palieskite bet kur jutikliniame ekrane, norėdami įjungti ekraną. Priklausomai nuo tuo metu nustatytų nuostatų, paspaudus maitinimo mygtuką spausdintuve išjungiamas miego režimas. |
|
|
Duomenų lemputė Mirksi, kai spausdintuvas apdoroja duomenis, ir dega, kai yra apdorojimo laukiančių užduočių. |
|
|
Klaidos lemputė Užsidega arba mirksi įvykus klaidai. Parodo visas klaidas ekrane. |
|
|
Faksogramos priėmimo lemputė Įsijungia, kai gauti dokumentai dar nebuvo apdoroti. |
Galite pakreipti valdymo skydelį.
