
|
Nr. |
Papildu vienums |
Pārskats |
|---|---|---|
|
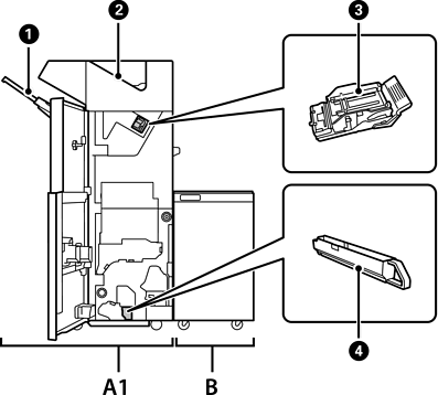
A1 |
Staple Finisher |
Kārto un skavo papīru pirms tā izstumšanas. Izsit caurumus ar papildu caurumsites ierīci. |
|
B |
Finisher Bridge Unit |
Lai izmantotu skavošanas ierīci vai bukletu veidotāju, jāuzstāda apdares tilta ierīce. |
|
|
Veidotāja paliktnis |
Satur secīgi sakārtotus vai sasietus dokumentus. |
|
|
Izvades paliktnis |
Galvenokārt uzglabā saņemtos faksus. |
|
|
Skavu kasetne |
Plakanai skavošanai. |
|
|
Caursites atkritne |
Savāc caursites atveru paliekas. |