
|
Nr |
Wyposażenie opcjonalne |
Przegląd |
|---|---|---|
|
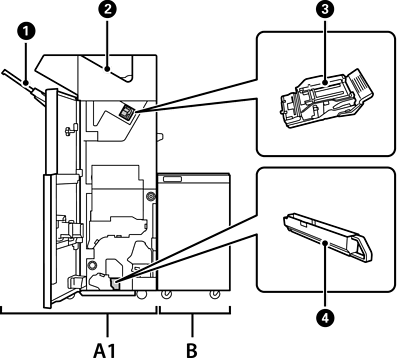
A1 |
Staple Finisher |
Umożliwia sortowanie i zszywanie papieru przed jego wysunięciem. Do dziurkowania wymagany jest opcjonalny dziurkacz. |
|
B |
Finisher Bridge Unit |
Aby używać finiszera ze zszywaczem lub finiszera broszurującego, należy zainstalować moduł mostka finiszera. |
|
|
Taca końcowa |
Przytrzymuje poukładane wydruki lub zszyte dokumenty. |
|
|
Taca wyjściowa |
Służy do przechowywania odebranych faksów. |
|
|
Pojemnik ze zszywkami |
Służy do zszywania płaskiego. |
|
|
Taca na odpadki dziurkacza |
Służy do gromadzenia odpadków dziurkacza. |