
|
Não. |
Item opcional |
Visão geral |
|---|---|---|
|
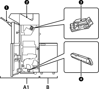
A1 |
Staple Finisher |
Ordena e agrafa o papel antes de o ejetar. Realiza furos usando a unidade de perfuração opcional. |
|
B |
Finisher Bridge Unit |
Para utilizar o finalizador de agrafos ou finalizador de folheto é necessário instalar a unidade de ponte do finalizador. |
|
|
Tabuleiro de Conclusão |
Suporte para documentos ordenados ou agrafados. |
|
|
Tabuleiro de saída |
Guarda principalmente faxes recebidos. |
|
|
Cartucho de agrafos |
Para agrafar de forma plana. |
|
|
Tabuleiro de detritos de perfurações |
Recolhe os detritos da perfuração de orifícios. |