
|
|
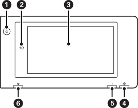
Кнопка питанияИндикатор питания |
|
|
Главная кнопка Возвращает на главный экран. |
|
|
Сенсорный экран Отображает элементы настройки и сообщения. Если в течение определенного времени никакие операции на принтере не выполняются, он переходит в спящий режим, а дисплей отключается. Нажмите в любом месте сенсорного экрана, чтобы включить дисплей. В зависимости от текущих настроек нажатие на кнопку питания может выводить принтер из спящего режима. |
|
|
Индикатор данных Мигает, если принтер обрабатывает данные, и включается, если имеются задания, ожидающие обработки. |
|
|
Индикатор ошибки Горит или мигает, если возникает ошибка. На экране отображаются сообщения об ошибках. |
|
|
Индикатор приема факса Включается при приеме документов, которые еще не были обработаны. |
Панель управления можно повернуть.
