Pred výmenou atramentových kaziet si prečítajte nasledujúce pokyny.
Atramentové kazety skladujte pri normálnej izbovej teploty a uchovávajte ich mimo priameho slnečného svetla.
Spoločnosť Epson odporúča spotrebovať atramentovú kazetu pred dátumom vytlačeným na jej obale.
Ak chcete dosiahnuť čo najlepšie výsledky, skladujte balenia atramentových kaziet spodnou časťou nadol.
Keď atramentovú kazetu prinesiete z chladného miesta uskladnenia, pred použitím ju nechajte najmenej 12 hodín zohriať pri izbovej teplote.
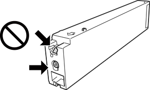
Nedotýkajte sa častí znázornených na obrázku. Mohli by ste tým znemožniť normálnu prevádzku a tlač.

Nainštalujte všetky atramentové kazety. V opačnom prípade nie je možné tlačiť.
Nevypínajte tlačiareň počas napĺňania atramentom. Ak napĺňanie atramentom neprebehne správne, je možné, že nebudete môcť tlačiť.
Nenechávajte tlačiareň s vytiahnutými atramentovými kazetami ani ju nevypínajte počas výmeny kazety. V opačnom prípade zvyšný atrament v tryskách tlačovej hlavy vyschne a pravdepodobne nebudete môcť tlačiť.
Ak potrebujete dočasne vybrať atramentovú kazetu, zaistite, aby sa do oblasti dodávania atramentu nedostal prach a špina. Atramentovú kazetu uchovávajte v rovnakom prostredí ako tlačiareň, s portom prívodu atramentu smerom do strany. Keďže port prívodu atramentu je vybavený ventilom určeným na zachytávanie nadbytočného atramentu, nie je potrebné dávať vlastné kryty ani zástrčky.
Vybraté atramentové kazety môžu mať atrament okolo zásobovacieho otvoru, preto buďte opatrní, aby ste neznečistili okolitú oblasť pri výbere kaziet.
Táto tlačiareň používa atramentové kazety vybavené zeleným čipom, ktorý monitoruje rôzne informácie, napríklad množstvo zostávajúceho atramentu v každej kazete. To znamená, že ak pred vyprázdnením vyberiete kazetu z tlačiarne, môžete ju po opätovnom vložení do tlačiarne ďalej používať.
S cieľom dosiahnutia maximálnej kvality tlače a ochrany tlačovej hlavy zostáva v kazete bezpečnostná rezerva atramentu, keď tlačiareň signalizuje, že je potrebné vymeniť kazetu. Uvedené hodnoty neobsahujú túto rezervu.
Atramentové kazety môžu obsahovať recyklovaný materiál, čo však neovplyvňuje funkciu ani prevádzku tlačiarne.
Technické údaje a vzhľad atramentovej kazety podliehajú zmene bez predchádzajúceho upozornenia na zlepšenie.
Atramentovú kazetu nerozoberajte ani neprerábajte, inak nemusí byť možné normálne tlačiť.
Uvádzané hodnoty výťažnosti sa môžu líšiť v závislosti od tlačených obrázkov, používaného typu papiera, frekvencie tlače a podmienok prostredia, ako je napríklad teplota.
Kazetu nepúšťajte na zem ani ňou neudierajte o tvrdé predmety, pretože môže dôjsť k úniku atramentu.
S cieľom zachovania optimálneho výkonu tlačovej hlavy sa malé množstvo atramentu spotrebúva zo všetkých kaziet nielen počas tlače, ale aj počas činností údržby, ako je napríklad čistenie tlačovej hlavy.
Atrament v atramentových kazetách dodaných s tlačiarňou sa čiastočne použije pri úvodnom nastavovaní. Tlačová hlava sa kompletne naplní atramentom, aby sa vytvorili výtlačky vysokej kvality. Pri tomto jednorazovom procese sa spotrebuje isté množstvo atramentu, a preto sa môže stať, že sa pomocou týchto kaziet vytlačí menej strán než pri použití nasledujúcich atramentových kaziet.