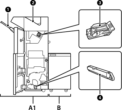
Názvy súčastí zošívačky

Č.

Voliteľná položka

Prehľad

A1

Staple Finisher

Zoraďuje a zošíva papier pred jeho vysunutím. Dieruje pomocou voliteľnej dierovačky.

B

Finisher Bridge Unit

Ak chcete používať zošívačku alebo brožúrovú jednotku, je potrebné nainštalovať premosťovaciu dokončovaciu jednotku.

Dokončovacia jednotka

Slúži na zachytenie zoradených výtlačkov alebo zošitých dokumentov.

Výstupný zásobník

Slúži hlavne na ukladanie prijatých faxov.

Zošívacia kazeta

Na ploché zošívanie.

Zásobník na odpad po dierovaní

Slúži na zhromažďovanie útržkov po dierovaní.