Pročitajte navedena uputstva pre zamene kertridža sa mastilom.
Čuvajte kertridže sa mastilom na sobnoj temperaturi i nemojte ih izlagati direktnoj sunčevoj svetlosti.
Epson preporučuje da kertridž sa bojom upotrebite pre datuma koji je odštampan na pakovanju.
Za najbolje rezultate, pakovanja kertridža sa mastilom skladištite sa donjim delom okrenutim nadole.
Nakon unošenja kertridža sa bojom iz hladne prostorije za skladištenje, ostavite ga najmanje 12 sati na sobnoj temperaturi da se zagreje.
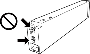
Nemojte dodirivati oblasti prikazane na ilustraciji. To može onemogućiti normalan rad i štampanje.

Postavite sve kertridže sa bojom. U suprotnom, štampanje možda neće biti moguće.
Nemojte isključivati štampač tokom punjenja mastilom. Ako se punjenje mastilom ne završi, štampanje možda neće biti moguće.
Nemojte ostavljati štampač sa izvađenim kertridžima s mastilom niti isključivati štampač prilikom zamene kertridža. U protivnom, mastilo koje je ostalo u mlaznicama glave za štampanje će se osušiti i štampanje možda neće biti moguće.
Ako morate da privremeno izvadite kertridž sa mastilom, pobrinite se da je oblast za dostavu mastila zaštićena od prljavštine i prašine. Kertridž sa mastilom skladištite u istoj okolini kao i štampač, sa otvorom za dostavu mastila okrenutim na stranu. Pošto je otvor za dostavu mastila opremljen ventilom koji je predviđen da zaustavi izlazak viška mastila, nema potrebe da stavljate sopstvene prekrivače ili čepove.
Moguće je da na izvađenim kertridžima oko otvora za dovod boje bude boje, zato vodite računa da prilikom vađenja kertridža boja ne dospe na okolne površine.
Ovaj štampač koristi kertridže sa mastilom opremljene zelenim čipom koji prati informacije kao što je količina preostalog mastila u svakom od kertridža. To znači da čak i ako je kertridž izvađen iz štampača pre nego što je u potpunosti ispražnjen, možete ga i dalje koristiti nakon što ga vratite nazad u štampač.
Da bi se postigao vrhunski kvalitet štampe i da bi se zaštitila glava za štampanje, promenljiva bezbednosna rezerva boje ostaje u kertridžu kad vas štampač obavesti da je potrebno da zamenite kertridž. Navedeni kapaciteti ne uključuju ovu rezervu.
Iako kertridži sa bojom mogu sadržati reciklirane materijale, to ne utiče na rad i učinak štampača.
Specifikacije i izgled kertridža sa mastilom su podložni promeni radi unapređenja bez prethodnog obaveštenja.
Nemojte rastavljati ili prepravljati kertridž sa bojom, jer u suprotnom možda nećete moći da štampate normalno.
Navedeni broj otisaka može se razlikovati zavisno od slika koje štampate, tipa papira koji koristite, učestalosti štampanja, kao i ambijentalnih uslova, kao što je temperatura.
Nemojte da ispuštate kertridž niti da ga udarate o tvrde predmete, jer može doći do curenja boje.
Da bi se održao optimalan rad glave za štampanje, malo boje se troši iz svih kertridža, ne samo tokom štampanja već i tokom operacija održavanja, kao što je čišćenje glave za štampanje.
Kertridži sa bojom koje ste dobili uz proizvod delimično se troše prilikom početnog podešavanja. Da bi se dobili otisci visokog kvaliteta, glava za štampanje vašeg štampača će biti u potpunosti napunjena mastilom. Ovaj jednokratni proces troši određenu količinu boje, pa ćete zato sa ovim kertridžima možda dobiti manji broj otisaka u odnosu na naredne kertridže sa bojom.