
|
Br. |
Opciona stavka |
Pregled |
|---|---|---|
|
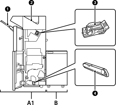
A1 |
Staple Finisher |
Razvrstava i povezuje heftalicom papir pre nego što ga izbaci. Buši papir pomoću opcione jedinice za bušenje papira. |
|
B |
Finisher Bridge Unit |
Da biste upravljali uređajem za završnu obradu spajanjem ili uređajem za završnu obradu brošura, treba da instalirate naslon uređaja za završnu obradu. |
|
|
Podmetač uređaja za završnu obradu |
Drži poslagane ili spojene dokumente. |
|
|
Izlazni podmetač |
Uglavnom čuva primljene faksove. |
|
|
Kertridž sa spajalicama |
Za ravno povezivanje. |
|
|
Podmetač za otpad od bušenja |
Sakuplja deliće probušenih rupa. |