> Vodič za kontrolnu tablu > Kontrolna tabla

Kontrolna tabla

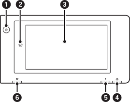
Dugme za uključivanje Lampica napajanja

Dugme za početak

Vraća vas na početni ekran.

Dodirni ekran

Prikazuje stavke podešavanja i poruke.

Kada se određeno vreme ne izvrši nijedna operacija, štampač ulazi u režim mirovanja i ekran se gasi. Dodirnite bilo koji deo dodirnog ekrana da biste uključili prikaz. U zavisnosti od trenutnih podešavanja, pritiskom na dugme za uključivanje štampač izlazi iz režima mirovanja.

Lampica za podatke

Treperi kada štampač obrađuje podatke i pali se kada ima zadataka koji čekaju na obradu.

Lampica za greške

Uključuje se ili treperi kada dođe do greške.

Prikazuje sve greške na ekranu.

Lampica za prijem faksa

Pali se kada primljeni dokumenti još nisu obrađeni.

Možete nagnuti kontrolnu tablu.