
|
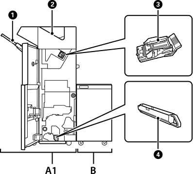
หมายเลข |
รายการอุปกรณ์เสริม |
ภาพรวม |
|---|---|---|
|
A1 |
Staple Finisher |
จัดเรียงและเย็บเล่มกระดาษก่อนดันออก เจาะรูโดยใช้ชุดเจาะรูที่เป็นอุปกรณ์ซื้อเพิ่ม |
|
B |
Finisher Bridge Unit |
เพื่อใช้งานชุดตัวเสร็จสิ้นงานการเย็บเล่มหรือชุดตัวเสร็จสิ้นงานแผ่นพับ คุณจะต้องติดตั้งชุดเชื่อมต่อตัวเสร็จสิ้นงาน |
|
|
ถาดของชุดตัวเสร็จสิ้นงาน |
รองรับเอกสารที่จัดเรียงแล้วหรือเย็บด้วยลวดเย็บ |
|
|
ถาดรับกระดาษออก |
จัดเก็บแฟกซ์ขาเข้าเป็นหลัก |
|
|
ตลับลวดเย็บ |
สำหรับการเย็บเล่มแบบเรียบ |
|
|
ถาดเศษกระดาษเจาะรู |
รวบรวมเศษกระดาษจากการเจาะรู |