Перш ніж замінювати чорнильні картриджі, ознайомтеся з інструкціями нижче.
Чорнильні картриджі необхідно зберігати при кімнатній температурі та не піддавати впливу прямого сонячного проміння.
Компанія Epson рекомендує використати чорнильний картридж до дати, вказаної на упаковці.
Щоб отримати найкращі результати, зберігайте чорнильні картриджі дном донизу.
Перед використанням картриджа, принесеного з холодного місця зберігання, дозвольте йому зігрітися за кімнатної температури протягом принаймні 12 годин.
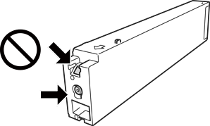
Не торкайтеся ділянок, вказаних на малюнку. Це може призвести до відхилення принтера від нормальної роботи і нормального друку.

Для виконання друку встановіть чорнильні картриджі.
Не вимикайте принтер під час заряджання. Якщо заряджання принтера пройшло не повністю, друк може бути неможливим.
Не залишайте принтер із вийнятими чорнильними картриджами та не вимикайте принтер під час заміни картриджів. Інакше чорнило, що залишилося на соплах друкувальної головки, висохне та друк може бути неможливим.
Якщо потрібно тимчасово видалити чорнильний картридж, подбайте про захист ділянки подачі чорнил від пилу та бруду. Зберігайте чорнильний картридж у тому самому середовищі, що й принтер, розмістивши порт подачі чорнил повернутим убік. Оскільки порт подачі чорнил оснащений клапаном, створеним для стримання витікання залишків чорнил, немає потреби додавати власні кришки чи пробки.
На використаних картриджах біля отворів подачі може залишатися чорнило, тому, виймаючи картриджі, будьте обережні, щоб нічого не забруднити.
Цей принтер використовує чорнильні картриджі, оснащені зеленим чіпом, який контролює таку інформацію як кількість залишкового чорнила в кожному картриджі. Це означає, що навіть якщо картридж буде видалено з принтера ще до його закінчення, ви все ще зможете використовувати його, повторно вставивши назад у принтер.
Щоб досягти найвищої якості друку та захистити друкувальну голівку, після запиту індикатора картриджа на його заміну в картриджі залишається певна кількість чорнила. Продуктивність зазначена без цього резерву.
Хоча до складу чорнильних картриджів можуть входити матеріали повторного використання, це не впливає на якість і продуктивність роботи принтера.
Технічні характеристики та зовнішній вигляд чорнильних картриджів можуть змінюватися без попередження про покращення.
Не розбирайте й не реконструюйте чорнильний картридж, бо це може вплинути на подальший нормальний друк.
Витрати чорнила залежать від зображень, які ви роздруковуєте, типу паперу, частоти використання та умов довкілля, наприклад, температури.
Не кидайте картридж і не бийте його об тверді поверхні, бо це може призвести до витікання чорнила.
Для забезпечення оптимальної роботи друкувальної голівки певний обсяг чорнил споживається з усіх картриджів не тільки під час друку, але й під час виконання таких операцій обслуговування, як чищення друкувальної голівки.
Чорнила у картриджах, встановлених у принтері на момент його продажу, частково використовуються під час початкового налаштування. Для того, щоб досягти високої якості роздруківок, друкувальна головка повністю наповнюється чорнилом. На цей однократний процес витрачається певна кількість чорнил, а тому картриджі можуть надрукувати менше сторінок порівняно з наступними картриджами.