
|
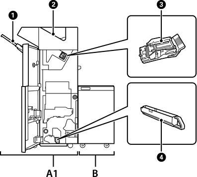
№ |
Додатковий елемент |
Огляд |
|---|---|---|
|
A1 |
Staple Finisher |
Сортування та скріплення скобами паперу перед виштовхуванням. Перфорація за допомогою додаткового перфоратора. |
|
B |
Finisher Bridge Unit |
Щоб працювати із пристроєм для скріплення скобами або пристроєм для брошурування, необхідно встановити блок кріплення пристроїв кінцевої обробки. |
|
|
Лоток пристрою кінцевої обробки |
Утримує сортовані або скріплені документи. |
|
|
Вихідний лоток |
Головним чином отримує факси. |
|
|
Картридж зі скобами |
Для зшивання по краю. |
|
|
Лоток збору відходів перфорації |
Збирання залишків після виконання перфорації. |