
|
Số |
Mục tùy chọn |
Tổng quan |
|---|---|---|
|
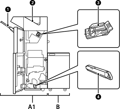
A1 |
Staple Finisher |
Sắp xếp và dập ghim giấy trước khi đẩy giấy ra. Đục lỗ bằng bộ phận đục lỗ tùy chọn. |
|
B |
Finisher Bridge Unit |
Để vận hành bộ hoàn thiện dập ghim hoặc bộ hoàn thiện tập sách, bạn cần lắp đặt bộ phận cầu nối với bộ hoàn thiện. |
|
|
Khay bộ hoàn thiện |
Giữ các tài liệu được sắp xếp hoặc dập ghim. |
|
|
Khay đầu ra |
Chủ yếu lưu fax đã nhận. |
|
|
Hộp ghim |
Dành cho khâu phẳng. |
|
|
Khay vụn thải đục lỗ |
Thu thập các mảnh vụn đục lỗ. |