اقرأ التعليمات التالية قبل استبدال خراطيش الحبر.
قم بتخزين خراطيش الحبر في درجة الحرارة الطبيعية للغرفة وحفظها بعيدًا عن أشعة الشمس المباشرة.
توصي Epson باستخدام خرطوشة الحبر قبل حلول التاريخ المطبوع على عبوة الخرطوشة.
للحصول على أفضل النتائج، خزن عبوات خراطيش الحبر بحيث تكون قاعدتها لأسفل.
بعد جلب خرطوشة الحبر من مكان التخزين البارد، دعها تدفأ في درجة حرارة الغرفة على الأقل لمدة 12 ساعة قبل استخدامها.
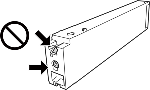
لا تلمس الأجزاء الموضحة في الرسم التوضيحي. فقد يحول ذلك دون التشغيل والطباعة بصورة طبيعية.

ثبّت كافة خراطيش الحبر، وإلا فلن تتمكن من الطباعة.
لا تقم بإيقاف تشغيل الطابعة أثناء شحن الحبر. إذا كان شحن الحبر غير مكتمل، فقد يتعذر عليك الطباعة.
لا تترك الطابعة وقد أزلت خرطوشة الحبر منها أو لا توقف تشغيل الطابعة في أثناء استبدال خرطوشة الحبر. وإلا، فسيجف الحبر المتبقي في فوهات رأس الطباعة وقد لا تتمكن من الطباعة.
عند الحاجة إلى فك خرطوشة الحبر بشكل مؤقت، تأكد من حماية منطقة تزويد الحبر من الأوساخ والأتربة. خزن خرطوشة الحبر في بيئة مماثلة لبيئة تخزين الطابعة، بحيث يكون منفذ تزويد الحبر موجهًا جانبًا. نظرًا لأن منفذ تزويد الحبر مزود بصمام لتصريف الحبر الزائد؛ فليست هناك حاجة لتوفير أغطية أو سدادات خاصة بك.
قد يوجد بعض الحبر حول منفذ تزويد الحبر بخراطيش الحبر التي تم إزالتها، لذلك توخ الحذر حتى لا تسكب حبرًا على المنطقة المحيطة عند إزالة الخرطوشة.
تستخدم هذه الطابعة خراطيش حبر مزودة بشريحة خضراء تُراقب معلومات مثل كمية الحبر المتبقية لكل خرطوشة. ويعني هذا أنه حتى لو تمت إزالة الخرطوشة قبل نفادها من الطابعة، فسيظل بإمكانك استخدام الخرطوشة بعد إعادة إدخالها في الطابعة.
للتأكد من الحصول على جودة طباعة فائقة وللمساعدة في حماية رأس الطباعة، يبقى مخزون أمان مختلف من الحبر في الخرطوشة عند إشارة الطابعة إلى استبدال الخرطوشة. لا تتضمن نسب الإنتاجية المحددة هذا المخزون.
على الرغم من إمكانية احتواء خراطيش الحبر على مواد مُعاد تدويرها، لا يؤثر ذلك على وظيفة الطابعة أو أدائها.
من الممكن حدوث تغيير في مواصفات خراطيش الحبر ومظهرها دون إخطار مسبق بالتطوير.
لا تقم بتفكيك خرطوشة الحبر أو إعادة تشكيلها، وإلا فلن تتمكن من الطباعة بشكل طبيعي.
قد تختلف نسب الإنتاجية على حسب الصور التي تطبعها ونوع الورق الذي تستخدمه وتكرار المطبوعات والظروف البيئية مثل درجة الحرارة.
لا تُسقطها أو تدفعها بمواجهة أجسام صلبة، وإلا، فقد يتسرب الحبر.
للحفاظ على أداء أمثل لرأس الطابعة، يتم استهلاك بعض الحبر من جميع الخراطيش ليس فقط أثناء الطباعة ولكن أيضا أثناء عمليات الصيانة مثل تنظيف رأس الطباعة.
يتم استخدام الحبر في خرطوشة الحبر المرفقة بالطابعة استخدامًا جزئيًا أثناء الإعداد الأولي. للحصول على مطبوعات عالية الجودة، يجب تعبئة رأس الطباعة كاملًا بالحبر. تستهلك هذه العملية التي تحدث مرة واحدة كمية من الحبر، لذلك قد تطبع هذه الخرطوشة صفحات أقل مقارنةً بخراطيش الحبر التالية.