
|
|
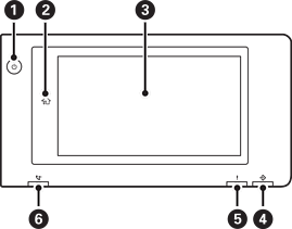
Tlačítko napájení Kontrolka napájení |
|
|
Tlačítko návratu na domovskou obrazovku Provede návrat na domovskou obrazovku. |
|
|
Dotyková obrazovka Zobrazí se na ní položky nastavení a zprávy. Pokud tiskárnu po určitou dobu nepoužíváte, bude uvedena do režimu spánku a obrazovka se vypne. Chcete-li zapnout obrazovku, klepněte kdekoli na dotykové obrazovce. V závislosti na aktuálním nastavení stisknutím napájecího tlačítka aktivujete tiskárnu z režimu spánku. |
|
|
Datová kontrolka Bliká, když tiskárna zpracovává data a svítí, když existují úlohy, které čekají na zpracování. |
|
|
Chybová kontrolka Svítí nebo bliká, když dojde k chybě. Zobrazí chyby na obrazovce. |
|
|
Kontrolka přijetí faxu Svítí, pokud jsou přijaty dokumenty, které ještě nebyly zpracovány. |
Ovládací panel můžete naklonit.
