Læs følgende anvisninger, før du udskifter blækpatroner.
Opbevar blækpatroner ved almindelig stuetemperatur og væk fra direkte sollys.
Epson anbefaler, at blækpatronen bruges før den dato, der er trykt på pakken.
Pakker med blækpatroner skal opbevares med bunden vendende nedad for at opnå bedste resultater.
Giv blækpatronen tid til at varme op til stuetemperatur i mindst 12 timer, inden den tages i brug, når den hentes fra et koldt sted.
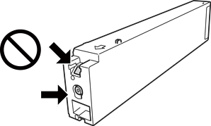
Rør ikke ved de områder, der er vist på illustrationen. Dette kan medføre, at normal drift og udskrivning ikke er mulig.

Sæt alle patroner i. Ellers kan du ikke udskrive.
Sluk ikke for printeren under påfyldning af blæk. Hvis påfyldningen af blækket ikke er afsluttet, kan du muligvis ikke udskrive.
Efterlad ikke printeren med uden blækpatronen og sluk ikke printeren under udskiftning af patron. Ellers vil resterende blæk på printhovedets dyser udtørre, og du vil måske ikke kunne udskrive.
Hvis du midlertidigt vil fjerne en blækpatron, skal du sikre dig at beskytte blækudgangen mod snavs og støv. Blækpatronen skal opbevares i det samme miljø som printeren med blækudgangen vendende sidelæns. Da blækudgangen er udstyret med en ventil, der er designet til at forhindre frigivelse af overskydende blæk, er det ikke nødvendigt at sætte dine egne låg eller propper på.
Fjernede blækpatroner kan have blæk omkring blækudgangen, så pas på, du ikke får blæk på det omgivende område, når du fjerner patronerne.
Denne printer bruger blækpatroner, der er forsynet med en grøn chip, som måler oplysninger, f.eks. den resterende mængde blæk på hver patron. Dette betyder, at selvom patronen bliver fjernet fra printeren, inden den er brugt op, kan du stadigvæk bruge den, hvis du sætter den tilbage i printeren.
For at sikre dig en førsteklasses udskriftskvalitet og for at beskytte skrivehovedet, er der stadig en variabel blækreserve i patronen, når printeren angiver, at patronen skal udskiftes. Den angivne udskriftsmængde inkluderer ikke denne reserve.
Selvom blækpatronerne kan indeholde genbrugsmateriale, påvirker det ikke printerens funktion eller ydeevne.
Blækpatronens specifikationer og udseende er af hensyn til forbedringer udsat for ændringer uden varsel.
Blækpatronen må ikke skilles ad eller omdannes, da du ellers ikke vil kunne udskrive normalt.
Den angivne udskriftsmængde kan variere afhængigt af de billeder, du udskriver, og den papirtype, du bruger, udskrivningshyppigheden og de omgivende forhold som f.eks. temperatur.
Undgå at tabe produktet eller støde det mod hårde genstande. Ellers risikerer du, at blækket løber ud.
For at opretholde optimal ydelse for printhovedet forbruges der noget blæk fra alle patroner, ikke kun ved udskrivning, men også ved vedligeholdelsesoperationer såsom rensning af printhovedet.
Blækket i patronen, der følger med printeren, bruges delvist op under den første installation. For at kunne fremstille udskrifter af høj kvalitet fyldes printhovedet i printeren helt op med blæk. Denne enkeltstående proces forbruger en mængde blæk, og derfor kan der muligvis udskrives færre sider med denne patron end med efterfølgende blækpatroner.