
|
No. |
Optional Item |
Overview |
|---|---|---|
|
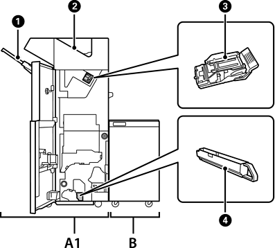
A1 |
Staple Finisher |
Sorts and staples paper before ejecting it. Punches holes using the optional hole punch unit. |
|
B |
Finisher Bridge Unit |
To operate the staple finisher or booklet finisher you need to install the finisher bridge unit. |
|
|
Finisher Tray |
Holds sorted or stapled documents. |
|
|
Output tray |
Mainly stores received faxes. |
|
|
Staple Cartridge |
For flat stitching. |
|
|
Punch Waste Tray |
Collects punch hole scraps. |