
|
N.º |
Elemento opcional |
Visión general |
|---|---|---|
|
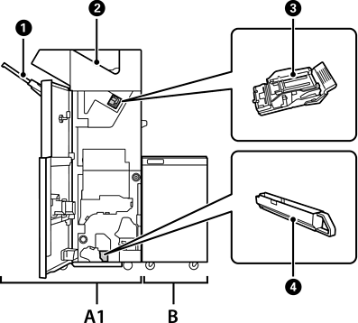
A1 |
Staple Finisher |
Clasifica y grapa el papel antes de expulsarlo. Perfora orificios mediante la unidad perforadora opcional. |
|
B |
Finisher Bridge Unit |
Para usar la unidad de acabado con grapas o la unidad de acabado de folletos debe instalar el puente de la unidad de acabado. |
|
|
Bandeja de la unidad de acabado |
Recibe los documentos clasificados o grapados. |
|
|
Bandeja de salida |
Principalmente guarda los faxes recibidos. |
|
|
Cartucho de grapas |
Para costura plana. |
|
|
Bandeja de residuos de perforado |
Recoge los restos de las perforaciones. |