Enne tindikassettide vahetamist lugege järgmisi juhiseid.
Hoidke tindikassette normaalsel toatemperatuuril ja otsesest päikesevalgusest eemal.
Epson soovitab tindikassetti kasutada enne pakendile märgitud kuupäeva.
Parima tulemuse saavutamiseks hoidke tindikassettide pakendite alumine osa allpool.
Kui olete hoidnud tindikassetti külmas, laske sel vähemalt 12 tundi enne kasutamist toatemperatuuril soojeneda.
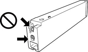
Ärge puudutage joonisel näidatud kohti. Sellega võite kahjustada normaalset töötamist ja printimist.

Paigaldage kõik tindikassetid; vastasel juhul ei saa te printida.
Ärge lülitage tindi laadimise ajal printerit välja. Kui tindi laadimine ei ole lõpetatud, ei pruugi printimine võimalik olla.
Ärge jätke printerit seisma eemaldatud tindikassetiga ega lülitage seda välja kassettide vahetamise ajal. Vastasel korral hakkab prindipea pihustitesse jäänud tint kuivama ja printimine võib muutuda võimatuks.
Kui teil on vaja tindikassetti ajutiselt eemaldada, kaitske kindlasti tindivarustuse ala mustuse ja tolmu eest. Hoidke tindikassetti samas keskkonnas printeriga, tindivarustusava küljele suunatult. Kuna tindivarustusavas on klapp, mis kontrollib ülearuse tindi väljumist, ei ole rohkem katteid ega korke vaja kasutada.
Eemaldatud tindikassettide tindiväljastusava ümber võib olla tinti, seega olge kassettide eemaldamisel ettevaatlik, et ümbrusse ei satuks tinti.
Printer kasutab tindikassette, millel on roheline kiip info jälgimiseks (nt allesolev tindikogus igas kassetis). See tähendab. et isegi kui kassett printerist enne tühjenemist eemaldatakse, saab seda hiljem tagasi printerisse pannes edasi kasutada.
Kõrge printimiskvaliteedi tagamiseks ning prindipea kaitsmiseks säilib kassetis reservina väike kogus tinti ka siis, kui printer teatab, et kassetti tuleks vahetada. Viidatud printimismahud ei arvesta seda reservi.
Kuigi tindikassetid võivad sisaldada taaskasutatud materjale, ei mõjuta see kuidagi printeri talitlust ega tehnilisi omadusi.
Tindikasseti spetsifikatsioonid ja välimus võivad ilma ette teatamiseta parandamise eesmärgil muutuda.
Ärge võtke tindikassetti koost lahti ega tehke sellele muudatusi, sest sel juhul ei pruugi normaalne printimine enam võimalik olla.
Toodud kogused võivad varieeruda sõltuvalt prinditavatest kujutistest, kasutatava paberi tüübist, printimise sagedusest ning keskkonnatingimustest, näiteks temperatuurist.
Ärge pillake ega põrutage seda vastu kõvasid esemeid. Nii võib tint lekkida.
Prindipea töökvaliteedi säilitamiseks kulutatakse kassettidest natuke tinti mitte ainult printimise ajal, vaid ka hooldustoiminguteks (nt tindikassettide vahetamine ja prindipea puhastamine).
Printeriga kaasas olevate tindikasseti tinti kasutatakse osaliselt esmase häälestamise ajal. Kvaliteetsete väljaprintide tegemiseks täidetakse prindipea printeris täielikult tindiga. See ühekordne protsess tarbib teatud koguses tinti ning seetõttu võib kassett tühjaks saada natuke kiiremini kui täiesti uus tindikassett.