
|
شماره |
مورد اختیاری |
کلیات |
|---|---|---|
|
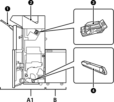
A1 |
Staple Finisher |
کاغذها را قبل از بیرون دادن، مرتب کرده و منگنه میکند. با استفاده از واحد پانچ اختیاری، پانچ میکند. |
|
B |
Finisher Bridge Unit |
برای کار کردن با فینیشر منگنه یا فینیشر کتابچه لازم است واحد پل فینیشر را نصب کنید. |
|
|
سینی فینیشر |
اسناد مرتب یا منگنه شده را نگه میدارد. |
|
|
سینی خروجی |
اساساً نمابرهای دریافت شده را ذخیره میکند. |
|
|
کارتریج منگنه |
برای منگنه زدن صاف. |
|
|
سینی ضایعات پانچ |
ضایعات سوراخ پانچ را جمع میکند. |