
|
|
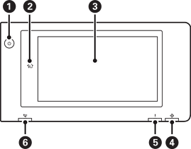
دکمه روشن/خاموش چراغ روشن/خاموش |
|
|
دکمه صفحه اصلی شما را به صفحه اصلی باز میگرداند. |
|
|
صفحه لمسی گزینههای تنظیم و پیامها را نمایش میدهد. اگر در مدت معینی کاری انجام نگیرد، چاپگر وارد حالت خواب و نمایشگر خاموش میشود. برای روشن کردن نمایشگر به صفحه لمسی ضربه بزنید. بسته به تنظیمات فعلی، با فشار دادن دکمه روشن/خاموش چاپگر از حالت خواب خارج میشود. |
|
|
چراغ داده در مدتی که چاپگر مشغول پردازش داده است چشمک میزند و در صورت وجود کارهای منتظر پردازش روشن میشود. |
|
|
چراغ خطا هنگامی که خطا رخ میدهد، چشمک میزند یا روشن میشود. هر نوع خطا را روی صفحه نشان میدهد. |
|
|
چراغ دریافت نمابر با دریافت اسناد هنوز پردازش نشده روشن میشود. |
میتوانید پانل کنترل را کج کنید.
