
|
|
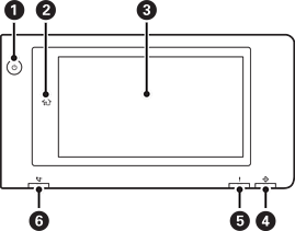
Virtapainike Virran merkkivalo |
|
|
Aloitusnäyttöpainike Palauttaa näytön aloitusnäkymään. |
|
|
Kosketusnäyttö Näyttää viestit ja valittavana olevat asetukset. Jos laitetta ei käytetä tietyn ajan kuluessa, tulostin siirtyy lepotilaan ja näyttö sammuu. Voit käynnistää näytön uudelleen napauttamalla sitä mistä tahansa kohdasta. Tulostimen voi herättää lepotilasta virtapainiketta painamalla (asetuksista riippuen). |
|
|
Data-merkkivalo Vilkkuu, kun laite käsittelee dataa. Palaa, jos laitteessa on käsittelyä odottavia töitä. |
|
|
Virheen merkkivalo Palaa tai vilkkuu, jos laitteessa tapahtuu virhe. Näyttää virheet näytöllä. |
|
|
Faksivastaanoton merkkivalo Palaa, jos laitteessa on käsittelemättömiä vastaanotettuja asiakirjoja. |
Ohjauspaneeli on kallistettava.
