स्याही कार्ट्रिज बदलने से पहले निम्नलिखित निर्देशों को पढ़ें।
सामान्य कमरे के तापमान पर इंक कार्ट्रिज को स्टोर करें और सीधे सूरज की रौशनी से उनहें दूर रखें।
Epson पैकेज पर छपे दिनांक से पहले इंक कार्ट्रिज के उपयोग की अनुशंसा करता है।
बेहतर परिणामों के लिए, इंक कार्ट्रिज पैकेज को उनके नीचे की ओर से स्टोर करें।
कोल्ड स्टोरेज साइट के अंदर से इंक कार्ट्रिज को लाने के बाद, इसे उपयोग करने से पहले कमरे के तापमान पर कम से कम 12 घंटे के लिए छोड़ दें।
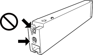
चित्र में दिखाए गए खंडों को न छूएं। ऐसा करने से सामान्य कार्य और प्रिंटिंग रूक सकता है।

सभी इंक कार्ट्रिजों को इनस्टॉल करें; अन्यथा आप प्रिंट नहीं कर सकते हैं।
इंक चार्जिंग के दौरान प्रिंटर बंद न करें। यदि इंक चार्जिंग अपूर्ण है तो, आप प्रिंट करने लायक़ नहीं होंगे।
इंक कार्ट्रिज हटाकर प्रिंटर खाली न छोड़ें या कार्ट्रिज बदलते समय प्रिंटर बंद न करें। अन्यथा प्रिंट हेड नोजल में जमी हुई इंक सूख जाएगी और आप प्रिंट नहीं कर पाएंगे।
यदि आप को अस्थायी तौर पर इंक कार्ट्रिज निकालने की आवश्यकता हो तो, यह सुनिश्चित कर लें कि आप गंदगी और धुल से इंक सप्लाई एरिया को सुरक्षित करते हैं। प्रिंटर वाले परिवेश में ही इंक कार्ट्रिज को स्टोर करके रखें और इंक आपूर्ति पोर्ट किनारों की तरफ़ होना चाहिए। क्योंकि इंक सप्लाई पोर्ट में एक वॉल्व लगा होता है जिसे अतिरिक्त स्याही निकलने से रोकने के लिए डिज़ाइन किया गया है, अपने कवर या प्लग का सप्लाई करने की आवश्यकता नहीं है।
अलग किए गए इंक कार्ट्रिज में इंक सप्लाई पोर्ट के इर्द गिर्द स्याही हो सकता है, इसलिए ध्यान रहे कि कार्ट्रिज को निकालने के दौरान इर्द गिर्द की जगह में स्याही न पड़े।
यह प्रिंटर ऐसे इंक कार्ट्रिज का उपयोग करता है जिसमें हरी चिप लगी होती है जो प्रत्येक कार्ट्रिज के लिए शेष स्याही की मात्रा जैसी जानकारी की निगरानी करती है। इसका अर्थ यह है कि यदि कार्ट्रिज के फैलाने से पहले भी इसे प्रिंटर से निकाल दिया जाता है तब भी, आप कार्ट्रिज का उपयोग प्रिंटर में वापस डाल कर, कर सकते हैं।
इसे सुनिश्चित करने के लिए कि आपको प्रीमियम प्रिंट क्वालिटी प्राप्त हो और आपकी प्रिंट हेड सुरक्षित रहे, प्रिंटर द्वारा कार्ट्रिज बदलने का संकेत देते समय एक वेरिएबल इंक सेफ्टी रिज़र्व कार्ट्रिज में रहता है। आपको बताई गई मात्रा में यह रिज़र्व शामिल नहीं है।
यद्यपि इंक कार्ट्रिज में रीसाइकल्ड सामग्री हो सकती है, यह प्रिंटर फंक्शन या कार्य-निष्पादन को प्रभावित नहीं करता है।
इंक कार्ट्रिज के विनिर्देश और रूप सुधार की पूर्व नोटिस के बिना परिवर्तन का विषय है।
इंक कार्ट्रिज के भागों को अलग न करें या फिर से न बनाएं, अन्यथा आप सामान्यतः प्रिंट करने में सक्षम नहीं होंगे।
प्रस्तुत लाभ प्रिंट की जाने वाली छवियाँ, आपके द्वारा उपयोग होने वाले कागज़, आपके प्रिंट करने की आवृत्ति और तापमान जैसी परिवेश की स्थितियां पर निर्भर है।
इसे गिराएं नहीं या कठोर वस्तुओं से टकराएं नहीं; अन्यथा, स्याही टपक सकती है।
सर्वोत्तम प्रिंट हेड निष्पादन को बनाए रखने के लिए, सभी कार्ट्रिज से कुछ स्याही की खपत न केवल प्रिंटिंग के दौरान बल्कि रख रखाव कार्यों जैसे प्रिंट हेड की सफ़ाई के दौरान भी होता है।
आपके प्रिंटर के साथ सप्लाई किए गए इंक कार्ट्रिज की स्याही का उपयोग आंशिक रूप से आरंभिक सेटअप के दौरान किया जाता है। उच्च गुणवत्ता के प्रिंटआउट निकालने के लिए, आपके प्रिंटर का प्रिंट हेड स्याही के साथ पूर्णतः चार्ज किया जाएगा। यह एक बार वाली प्रक्रिया बहुत ज़्यादा स्याही खपत करती है इसीलिए यह कार्ट्रिज पिछले इंक कार्ट्रिज की तुलना में कम पृष्ठों की छपाई कर सकता है।