
|
संख्या |
वैकल्पिक आइटम |
ओवरव्यू |
|---|---|---|
|
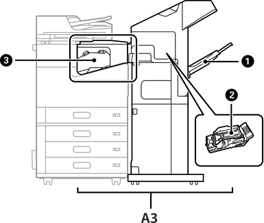
A3 |
Staple Finisher-P2 |
पेपर को निकालने से पहले उसे सॉर्ट और स्टेपल करता है। |
|
|
फ़िनिशर ट्रे |
सॉर्ट या स्टेपल किए गए दस्तावेज़ रखता है। |
|
|
स्टेपल कार्ट्रिज |
फ़्लैट स्टिचिंग के लिए। |
|
|
स्टेपल फ़िनिशर ब्रिज यूनिट |
प्रिंटर को स्टेपल फ़िनिशर-P2 से कनेक्ट करता है। जाम हुए पेपर को निकालते समय खोलें। |