
|
Br. |
Dodatna stavka |
Pregled |
|---|---|---|
|
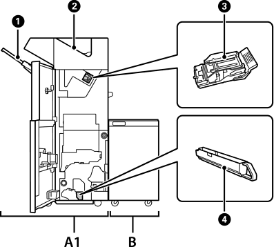
A1 |
Staple Finisher |
Sortira i spaja papir prije njegova izbacivanja. Buši rupe koristeći dodatnu bušilicu rupa. |
|
B |
Finisher Bridge Unit |
Za rad finišera za klamanje ili finišera za izradu brošura trebate instalirati premosnu jedinicu finišera. |
|
|
Pretinac finišera |
Drži posložene ili zaklamane dokumente. |
|
|
Izlazni pretinac |
Uglavnom pohranjuje primljene faksove. |
|
|
Uložak za klamanje |
Za ravno uvezivanje. |
|
|
Pretinac za otpad od bušenja |
Sakuplja otpad nastao pri bušenju. |