Pročitajte ove upute prije zamjene spremnika s tintom.
Pohranite spremnike s tintom pri normalnoj sobnoj temperaturi na mjestu gdje nisu izloženi izravnoj sunčevoj svjetlosti.
Epson preporučuje da spremnik za tintu iskoristite prije datuma navedenog na pakovanju.
Radi postizanja najboljih rezultata, pakiranja spremnika s tintom spremajte dnom naniže.
Ako ste spremnik s tintom izvadili s hladnog mjesta na kojem ste ga čuvali, držite ga najmanje 12 sati na sobnoj temperaturi prije upotrebe.
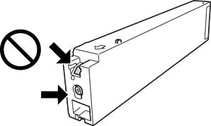
Nemojte dirati dijelove prikazane na ilustraciji. Time biste onemogućili normalan način rada i ispisa.

Umetnite sve spremnike s tintom jer u protivnom neće biti moguće izvršiti zadatak ispisa.
Nemojte isključivati pisač tijekom punjenja tintom. Ako punjenje tintom nije dovršeno, možda nećete moći ispisivati.
Nemojte ostavljati pisač s uklonjenim spremnikom s tintom i nemojte ga isključivati tijekom zamjene spremnika s tintom. U protivnom, preostala tinta u mlaznicama ispisne glave će se osušiti i možda nećete moći ispisivati.
Ako imate potrebu privremeno ukloniti spremnik tinte, osigurajte zaštitu dijela za opskrbu tintom od prljavštine i prašine. Spremnik tinte pohranite u istom okružju kao pisač, tako da ulaz opskrbe tintom bude okrenut bočno. Pošto je ulaz opskrbe tintom opremljen ventilom namijenjenim za zadržavanje ispuštanja prekomjerne tinte, nema potrebe za opskrbom vlastitih poklopaca ili čepova.
Uklonjeni spremnici tinte mogu sadržavati tintu oko priključka za opskrbu, pa stoga pripazite da tinta ne bi dospjela u okolno područje prilikom zamjene spremnika.
Ovaj pisač upotrebljava spremnike tinte opremljene zelenim čipom koji nadgleda informacije kao što je količina preostale tinte u svakom spremniku. To znači da čak i ako se spremnik izvadi iz pisača prije nego je potrošen, još uvijek možete koristiti spremnik nakon što ga vratite u pisač.
Kako biste bili sigurni da ćete dobiti najbolju kvalitetu ispisa i kako biste zaštitili ispisnu glavu pisača, pisač će vas upozoriti da je potrebno zamijeniti spremnike kada razina tinte u njima dosegne sigurnosno ograničenje. Navedene količine ne uključuju ovu rezervu.
Iako spremnici s tintom mogu sadržavati reciklirane materijale, to ne utječe na rad ili učinkovitost ovog pisača.
Specifikacije i izgled spremnika tinte podliježu promjeni bez prethodne najave poboljšanja.
Nemojte rastavljati ili vršiti preinake na spremniku s tintom jer u protivnom nećete moći ispisivati na uobičajeni način.
Navedene količine mogu se razlikovati ovisno o sadržajima koje ispisujete, vrsti papira koju koristite, učestalosti ispisa i uvjetima u okruženju kao što je temperatura.
Pazite da vam spremnici s tintom ne ispadnu iz ruke ili da s njima ne udarite o oštre predmete jer bi u protivnom moglo doći do curenja tinte.
Kako bi se održao optimalan rad ispisne glave, dio tinte se troši iz svih spremnika, ne samo tijekom ispisa, nego i tijekom postupaka održavanja kao što su zamjena spremnika s tintom i čišćenja ispisne glave.
Tinta u spremniku s tintom koji je isporučen s pisačem djelomično se troši prilikom početnog postavljanja pisača. Kako bi proizvela ispis visoke kvalitete, glava vašeg pisača bit će potpuno ispunjena tintom. Ovim se jednokratnim postupkom troši određena količina tinte, stoga ćete s ovim spremnikom može ispisati nešto manji broj stranica nego sa sljedećim spremnicima.