インクカートリッジを交換する前に以下の注意事項を確認してください。
インクカートリッジは常温で直射日光を避けて保管してください。
インクカートリッジは個装箱に印刷されている期限までに使用することをお勧めします。
良好な印刷品質を得るために、箱の底面を下にして保管してください。
インクカートリッジを寒い所に長時間保管していたときは、12時間以上室温で放置してからお使いください。
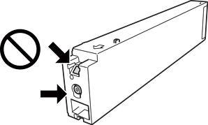
イラストで示した部分には触らないでください。正常に印刷できなくなるおそれがあります。

全てのインクカートリッジをセットしてください。全てセットしないと印刷できません。
インク充填中は電源を切らないでください。充填が不十分で印刷できなくなるおそれがあります。
インクカートリッジを取り外した状態でプリンターを放置したり、カートリッジ交換中に電源を切ったりしないでください。プリントヘッド(ノズル)が乾燥して印刷できなくなるおそれがあります。
使用途中に取り外したインクカートリッジは、インク供給孔部にホコリが付かないように、プリンターと同じ環境 で、インク供給孔部を横にして保管してください。ただし、インク供給孔内には弁があるため、ふたや栓をする必要 はありません。
取り外したインクカートリッジはインク供給孔部にインクが付いていることがありますので、周囲を汚さないようにご注意ください。
インクカートリッジはICチップでインク残量などの情報を管理しているため、使用途中に取り外しても再装着して使用できます。
本製品はプリントヘッドの品質を維持するため、インクが完全になくなる前に動作を停止するように設計されており、使用済みインクカートリッジ内に多少のインクが残ります。
インクカートリッジに再生材を使用している場合がありますが、製品の機能および性能には影響ありません。
インクカートリッジの外観や仕様は、改良のため予告なく変更することがあります。
インクカートリッジを分解または改造しないでください。正常に印刷できなくなるおそれがあります。
イールド枚数(印刷可能枚数)は印刷する画像や印刷用紙の種類、印刷頻度、気温などの環境条件により異なります。
インクカートリッジを落とすなど、強い衝撃を与えないでください。カートリッジからインクが漏れることがあります。
プリントヘッドを良好な状態に保つため、印刷時以外にもヘッドクリーニングなどのメンテナンス動作で全てのインクが消費されます。
購入直後のインク初期充填では、プリントヘッドノズル(インクの吐出孔)の先端部分までインクを満たして印刷できる状態にするため、その分インクを消費します。そのため、初回は2回目以降に取り付けるインクカートリッジよりも印刷できる枚数が少なくなることがあります。