
|
|
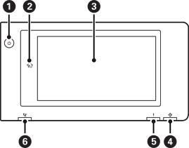
[電源ボタン][電源ボタンランプ] |
|
|
[ホームボタン] ホーム画面に戻ります。 |
|
|
[タッチパネル] 操作項目やメッセージを表示します。 一定の時間以上操作しないとスリープモードになり、表示が消えます。タッチパネルをタップすると復帰します。設定によっては、電源ボタンを押すことにより、スリープモードから元の明るさに戻ります。 |
|
|
[データランプ] データ処理中に点滅、待機中のジョブがあるときに点灯します。 |
|
|
[エラーランプ] エラー発生時に点滅または点灯します。 エラー内容は画面に表示されます。 |
|
|
[ファクス受信ありランプ] まだ処理していないファクスがある場合に点灯します。 |
操作パネルは角度を変えることができます。
