Сия картридждарын ауыстыру алдында төмендегі нұсқауларды оқып шығыңыз.
Сия картридждерін қалыпты бөлме температурасында сақтаңыз және тікелей күн сәулесінен алыс ұстаңыз.
Epson сия картриджін бумада басылған күнге дейін қолдануды ұсынады.
Ең жақсы нәтижелер алу үшін сия картриджі бумаларын түбін төмен қаратып сақтаңыз.
Сия картриджін салқын сақталған жақтан шығарғаннан кейін оны пайдаланудан бұрын бөлме температурасында ең кемінде 12 сағат жылытыңыз.
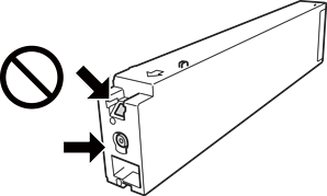
Суретте көрсетілген бөліктерге тимеңіз. Солай жасау қалыпты жұмыс істеуді және басып шығаруды болдырмайды.

Сия картридждерін орнатыңыз, әйтпесе, басып шығара алмайсыз.
Сия толтыру кезінде принтерді өшірмеңіз. Сияны толтыру толық орындалмаса, басып шығару мүмкін болмайды.
Сия картриджі алынған принтерді қалдырмаңыз немесе картриджді ауыстырып жатқанда принтерді өшірмеңіз. Кері жағдайда басып шығару механизмі шүмектерінде қалған сия құрғап қалып, басып шығара алмауыңыз мүмкін.
Сия картриджін уақытша алып тастау қажет болса, сия беру аумағын ластан және шаңнан қорғау қажет. Сия картриджін принтермен бірдей ортада, сия беру портының бетін бүйірге қаратып сақтаңыз. Сияны беру порты артық сияны ұстауға арналған клапанмен жабдықталғандықтан, жеке қақпақтар немесе тығындарды сатып алудың қажет жоқ.
Алынған сия картридждерінің сия беру портының айналасында сия болуы мүмкін, сондықтан картридждерді алған кезде айналасындағы сияны ұстап қалмаңыз.
Бұл принтер әрбір картридждегі қалған сия көлемі сияқты мәліметтерді бақылайтын жасыл чиппен жабдықталған сия картридждерін пайдаланады. Бұл сия таусылмайынша принтерден картридж алынып тасталса да, принтерге қайта салғаннан кейін де картриджді қолдана аласыз дегенді білдіреді.
Ең жоғары басып шығару сапасын алу және басып шығару механизмін қорғауды қамтамасыз ету үшін принтеріңіз картриджді ауыстыру керектігін білдірген кезде картриджде қолжетімді сақтық сия мөлшері қалады. Көрсетілген өнімділікте бұл резерв қамтылмаған.
Дегенмен, сия картридждерінде қайта өңделген материалдар бар, бұл принтердің жұмысына немесе өнімділігіне әсер етпейді.
Сия картриджінің техникалық сипаттамалары және сыртқы түрі жақсарту үшін алдын ала ескертусіз өзгертілуі мүмкін.
Сия картриджін бөлшектеуге немесе қайта жөндеуге болмайды, әйтпесе, қалыпты басып шығара алмайсыз.
Берілген ресурстар басып шығаратын суретке, қолданылған қағаз түріне, басып шығару жиілігіне және температура сияқты қоршаған орта шарттарына байланысты өзгереді.
Оны түсіріп алмаңыз немесе қатты затқа соқпаңыз, әйтпесе, сия ағуы мүмкін.
Басып шығару механизмінің оңтайлы өнімділігін сақтау үшін кейбір сиялар басып шығару барысында ғана емес, оған қоса басып шығару механизмін тазалаған кезде де барлық картридждерден жұмсалады.
Принтеріңізбен бірге берілген сия картриджінің ішіндегі сия бастапқы орнату барысында жартылай қолданылады. Жоғары сапасы басып шығаруды қамтамасыз ету үшін, принтеріңіздегі басып шығару механизмі сиямен толығымен толтырылады. Бұл бір процесс біршама сия мөлшерін жұмсайды, сондықтан бұл картридж келесі сия картридждерімен салыстырғанда аздау бет басып шығаруы мүмкін.