> Басқару тақтасы нұсқаулығы > Басқару тақтасы

Басқару тақтасы

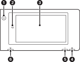
Қуат түймесі Қуат жарығы

Басты түймесі

Басты экранға қайтарады.

Сенсорлық экран

Параметр элементтерін және хабарларды көрсетеді.

Белгілі бір уақыт аралығында ешқандай әрекет орындалмаған кезде, принтер ұйқы режиміне өтіп, дисплей өшеді. Дисплейді қосу үшін, сенсорлық экранның кез келген жерін түртіңіз. Ағымдағы параметрлерге байланысты, қуат түймесін бассаңыз, принтерді ұйқы режимінен оятады.

Деректер шамы

Принтер деректерді өңдеген кезде жыпылықтайды және өңделуі күтілген тапсырмалар болған кезде қосылады.

Қате шамы

Қате пайда болған кезде қосылады немесе жыпылықтайды.

Экранда қандай да бір қателерді көрсетеді.

Факс қабылдау шамы

Әлі өңделмеген құжаттар алынған кезде қосылады.

Басқару тақтасын еңкейтуге болады.