잉크 카트리지를 교체하기 전에 다음 지시 사항을 읽어 주십시오.
잉크 카트리지는 일반 실내 온도에서 직사광선을 피하여 보관하십시오.
Epson은 잉크 카트리지를 패키지에 인쇄된 기한 내에 사용하는 것을 권장합니다.
최상의 결과를 위해 잉크 카트리지 패키지가 아래쪽을 향하도록 보관하십시오.
잉크 카트리지를 차가운 곳에서 보관하다가 실내로 가져온 경우 사용 전에 상온에서 최소 12 시간 이상 두었다가 사용하십시오.
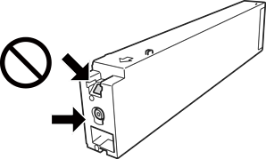
그림에 표시된 부분은 만지지 마십시오. 정상적인 작동 및 인쇄를 방해할 수 있습니다.

모든 잉크 카트리지를 장착하지 않으면 인쇄할 수 없습니다.
잉크를 공급하는 도중에는 프린터의 전원을 끄지 마십시오. 잉크 공급이 완료되지 않으면 인쇄하지 못할 수 있습니다.
프린터를 잉크 카트리지를 분리한 채로 두거나 잉크 카트리지 교체 도중에 프린터의 전원을 끄지 마십시오. 프린터 헤드 노즐에 남아 있는 잉크가 말라서 인쇄하지 못할 수 있습니다.
잉크 카트리지를 일시적으로 빼내야 하는 경우, 잉크 공급 부분에 먼지나 이물질이 끼지 않도록 보호하십시오. 프린터와 같은 보관 환경에서 잉크 카트리지를 보관하고, 잉크 공급 포트가 옆을 향하도록 보관하십시오. 잉크 공급 포트는 잉크가 새어 나오지 않도록 설계된 밸브가 장착되어 있으므로 덮개 또는 플러그를 장착할 필요가 없습니다.
분리한 잉크 카트리지의 잉크 공급 포트 주변에 잉크가 있을 수 있으므로 카트리지를 분리할 때 주변에 잉크가 묻지 않도록 주의하십시오.
프린터에는 각 카트리지의 잉크 용량 등의 정보를 모니터링하는 녹색 칩이 장착된 잉크 카트리지를 사용하십시오. 이는 카트리지가 다 소모되기 전에 프린터에서 카트리지를 제거하더라도 프린터에 다시 삽입한 후 카트리지를 계속 사용할 수 있음을 의미합니다.
프린터에 카트리지를 교체하라는 표시가 나타날 경우, 우수한 인쇄 품질을 보증하고 프린터 헤드를 보호하기 위해 안전을 대비한 잉크 예비량이 남아 있게 됩니다. 예비량은 용량에 포함되지 않습니다.
잉크 카트리지는 재활용 소재가 사용될 수 있으나 프린터 기능 또는 성능에는 아무런 영향이 없습니다.
잉크 카트리지의 사양 및 외관은 품질 향상을 위해 사전 예고 없이 변경될 수 있습니다.
잉크 카트리지를 분해하거나 개조하지 마십시오. 정상적으로 인쇄하지 못할 수 있습니다.
사용량은 인쇄하는 이미지, 용지 종류, 인쇄 빈도 및 온도와 같은 작업 환경에 따라 달라집니다.
잉크팩을 바닥에 떨어뜨리거나 단단한 물체에 부딪치지 마십시오. 잉크가 샐 수 있습니다.
최적의 프린터 헤드 성능을 유지하기 위하여, 인쇄 시 뿐만 아니라 프린터 헤드 청소와 같은 유지보수 작업 시에도 모든 카트리지에서 잉크 일부가 소모됩니다.
프린터와 함께 제공된 잉크 카트리지의 잉크는 초기 설치 과정 중에 부분적으로 사용됩니다. 고품질 인쇄물을 생성하려면 잉크가 프린터의 프린터 헤드에 완전히 충전되어 있어야 합니다. 한 번만 수행되는 이 과정에서 잉크가 일부 소모되므로 처음에 장착한 잉크 카트리지는 나중에 장착하는 잉크 카트리지보다 인쇄량이 적을 수 있습니다.