> 옵션 아이템 사용하기 > 스테이플 피니셔-P2 > 스테이플 피니셔-P2 부품 이름

스테이플 피니셔-P2 부품 이름

번호

옵션 아이템

개요

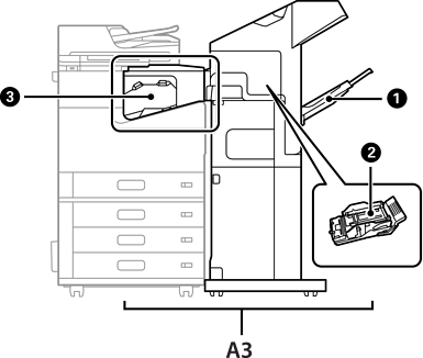
A3

스테이플 피니셔-P2

용지를 배출하기 전에 정렬하고 스테이플로 고정합니다.

피니셔 트레이

정렬 또는 스테이플 처리된 문서를 보관합니다.

스테이플 카트리지

플랫 스티치용

스테이플 피니셔 브릿지 유닛

프린터를 스테이플 피니셔-P2에 연결합니다. 걸린 용지를 제거할 때 엽니다.