
|
Nr. |
Papildomas elementas |
Apžvalga |
|---|---|---|
|
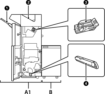
A1 |
Staple Finisher |
Rūšiuoja ir susega popierių prieš išstūmimą. Pasirenkama skylmuša išmuša skyles. |
|
B |
Finisher Bridge Unit |
Norint naudoti susegimo arba bukletų įrenginį, reikia sumontuoti užbaigimo tiltelio įrenginį. |
|
|
Užbaigimo įrenginio dėklas |
Laiko surūšiuotus arba susegtus dokumentus. |
|
|
Išvesties dėklas |
Daugiausiai naudojamas gautų faksogramų laikymui. |
|
|
Kabių kasetė |
Plokščiam sukabinimui. |
|
|
Skylmušos atliekų dėklas |
Jame kaupiasi skylmušos atliekos. |