Izlasiet zemāk sniegtos norādījumus, pirms veicat tintes kasetņu nomaiņu.
Uzglabājiet tintes kasetnes normālā istabas temperatūrā un aizsargājiet tās no tiešiem saules stariem.
Uzņēmums Epson iesaka izlietot tintes kasetni pirms datuma, kas norādīts uz iepakojuma.
Lai nodrošinātu augstāko kvalitāti, glabājiet tintes kasetņu iepakojumus ar apakšējo daļu uz leju.
Ienesot tintes kasetni no aukstas glabātavas telpās, pirms kasetnes lietošanas tai vismaz 12 stundas jāiesilst istabas temperatūrā.
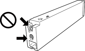
Nepieskarieties attēlā norādītajām detaļām. Citādi printera normāla darbība un drukāšana var būt neiespējama.

Uzstādiet visas tintes kasetnes, citādi printeris nedrukās.
Neizslēdziet printeri tintes uzpildes laikā. Ja tintes uzpildīšana nav pabeigta, drukāšana var būt neiespējama.
Neatstājiet printeri ar izņemtu tintes kasetni un neizslēdziet printeri kasetnes nomaiņas laikā. Citādi tinte, kas ir palikusi drukas galviņas sprauslās, izžūs un drukāšana nebūs iespējama.
Ja īslaicīgi jāizņem tintes kasetne, nepieļaujiet, ka tintes pievades zonā iekļūst netīrumi un putekļi. Glabājiet tintes kasetni tajā pašā vidē, kādā glabājat printeri, pagriežot tintes pievades vietu uz sāniem. Nav nepieciešams nodrošināt savus vāciņus vai aizbāžņus, jo tintes pievades vietai ir uzstādīts vārsts liekās tintes izplūdes novēršanai.
Izņemtām tintes kasetnēm padeves porta apvidū var būt tinte, tādēļ, izņemot kasetnes, uzmanieties, lai nesasmērētos ar tinti.
Šajā printerī tiek izmantotas tintes kasetnes ar zaļu mikroshēmu, kas uzrauga informāciju, piemēram, atlikušās tintes daudzumu katrā kasetnē. Tas nozīmē, ka pat tad, ja kasetne tiek izņemta no printera, pirms tā ir tukša, to joprojām var lietot pēc ievietošanas atpakaļ printerī.
Lai nodrošinātu visaugstāko drukāšanas kvalitāti un aizsargātu drukas galviņu, brīdī, kad printeris norāda par kasetnes nomaiņas nepieciešamību, kasetnē vēl paliek noteikts daudzums tintes drošības rezervei. Atlikušais noteiktais tintes daudzums neietver šo rezervi.
Lai gan tintes kasetnes var saturēt pārstrādātus materiālus, tas neietekmē printera darbību vai sniegumu.
Tintes kasetnes specifikācija un izskats var tikt mainīts bez iepriekšēja brīdinājuma par uzlabojumu veikšanu.
Neatveriet vai nepārveidojiet tintes kasetni, citādi normāla drukāšana var kļūt neiespējama.
Vienas kasetnes izdrukāto lapu skaits ir atkarīgs no drukājamiem attēliem, izmantotā papīra veida, drukāšanas biežuma un vides apstākļiem, piemēram, temperatūras.
Nenometiet tintes kasetni uz cietiem priekšmetiem vai nesitiet pret tiem, citādi tinte var izplūst.
Lai nodrošinātu optimālu drukas galviņas darbību, no visām kasetnēm tiek patērēts nedaudz tintes ne tikai drukāšanas laikā, bet arī apkopes darbību laikā, piemēram, drukas galviņas tīrīšanas laikā.
Printera komplektā ietvertajā tintes kasetnē iepildītā tinte tiek daļēji izlietota sākotnējās uzstādīšanas laikā. Lai nodrošinātu augstas kvalitātes izdrukas, drukas galviņai printerī jābūt pilnībā pildītai ar tinti. Šī vienreizējā procesa laikā tiek patērēts noteikts daudzums tintes, tādēļ šī kasetne var izdrukāt mazāku lapu skaitu salīdzinājumā ar nākamajām kasetnēm.