
|
Nr. |
Papildu vienība |
Pārskats |
|---|---|---|
|
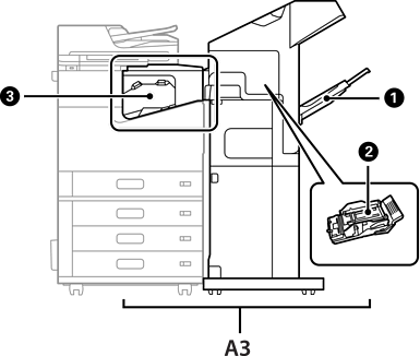
A3 |
Staple Finisher-P2 |
Kārto un skavo papīru pirms tā izstumšanas. |
|
|
Gatavo materiālu paplāte |
Satur secīgi sakārtotus vai sasietus dokumentus. |
|
|
Skavu kasetne |
Plakanai skavošanai. |
|
|
Skavošanas ierīces tilta iekārta |
Savieno printeri ar skavošanas ierīci-P2. Atveriet, ja nepieciešams izņemt iesprūdušu papīru. |