> Дурын зүйлсийг ашиглах > Үдэлт гүйцээгч (Staple Finisher) > Үдээсний өнгөлгөөний эд ангийн нэрс

Үдээсний өнгөлгөөний эд ангийн нэрс

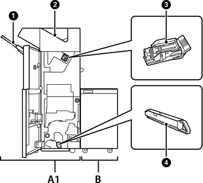
№.

Дурын зүйл

Тойм

A1

Staple Finisher

Үүнийг гаргахаас өмнө цаасыг ангилж үднэ. Дурын цоологчийг ашиглан нүхийг цоолно.

B

Finisher Bridge Unit

Үдээсний өнгөлөгч юмуу товхимолын өнгөлөгчийг ажиллуулахын тулд та өнгөлгөөний гүүрийг суулгах шаардлагатай.

Өнгөлгөөний тавиур

Эрэмбэлсэн ба үдсэн бичиг баримтыг барина.

Гаралтын тэвш

Голдуу хүлээн авсан факсуудыг хадгална.

Үдээсний хайрцаг

Хавтгай үдээсэнд.

Цоологчийн хогийн тавиур

Цоолох нүхний хэлтэрхийг цуглуулна.