Хорны картриджийг солихын өмнө дараах зааврыг уншина уу.
Бэхийн картриджийг өрөөний ердийн температурт хадгалж, нарны шууд тусгалаас хол байлгана.
Сав баглаанд дээр заасан огнооноос өмнө бэхний картриджийг ашиглахыг Epson санал болгож байна.
Сайн үр дүнд хүрэхийн тулд, бэхний картриджийн иж бүрдлийн ёроолыг доош нь харуулж хадгална.
хорны картриджийг хүйтэн агуулахын талбайгаас өрөөн дотор оруулсны дараа, түүнийг ашиглахаас өмнө 12-оос доошгүй цаг өрөөний температурт бүлээцүүлнэ.
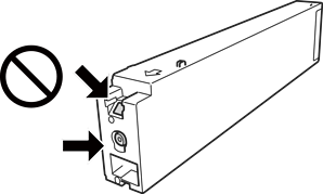
Зурагт үзүүлсэн хэсгүүдэд бүү хүр. Тэгвэл, хэвийн ажиллагаа хэвлэх ажиллагаанд саад учруулах аюултай.

Бүх бэхний картриджаа суурилуулна; эс тэгвээс та хэвлэх боломжгүй.
Бэх цэнэглэх зуур принтерийг бүү унтраа. Бэх цэнэглэж дуусаагүй бол, та хэвлэх боломжгүй хэвээр байна.
Хорны картриджийг салгасан үед принтерийг эзэнгүй орхиж болохгүй, мөн хорны картриджийг сольж байхдаа принтерийг унтрааж болохгүй. Эс тэгвээс, принтерийн толгойн цоргонд үлдсэн бэх хатаж, та хэвлэх боломжгүй болж болно.
Та түр хугацаагаар хорны картриджийг салгах хэрэгтэй бол, та бэх хангах талбайг тоос шорооноос хамгаална уу. Хорны картриджийг принтерийнхтэй ижил орчинд хадгалах ба бэх нийлүүлэх портыг хажуу тийш нь харуулна. Бэх нийлүүлэх порт нь илүүдэл бэхний гаралтыг тогтоох хавхлагаар тоноглосон учраас, өөрийн таг, эсвэл залгуурыг ашиглах шаардлага байхгүй.
Салгасан бэхний картриджийн бэх нийлүүлэх портын эргэн тойрон бэх байж болох бөгөөд картриджийг салгахдаа түүний эргэн тойронд бэх болгохгүй байхад анхаарна.
Энэ принтер нь картридж бүрийн үлдэж буй бэх зэрэг мэдээллийг хянадаг ногоон чипээр тоноглогдсон хорны картриджийг ашигладаг. Картриджийг ашиглахаас өмнө принтерээс салгасан ч гэсэн, та тус картриджийг дараа нь принтерт буцаан хийж ашиглаж болно гэсэн үг юм.
Та дээд зэргийн хэвлэлийн чанараар хэвлэж, өөрийн принтерийн толгойг хамгаалж байхын тулд, таны принтерийн картриджийг солих дохио өгөх үед картриджад бэхний аюулгүй ажиллагааны янз бүрийн нөөцийг үлдээнэ. Танд харуулах гарцын хэмжээнд энэхүү нөөц орж тооцогдохүй болно.
Бэхний картридж дотор дахин боловсруулсан материал ашиглаж болдог боловч, энэ нь принтерийн үйл ажиллагаа, гүйцэтгэлд сөрөг нөлөө үзүүлэхгүй.
Сайжруулсан талаар урьдчилсан мэдэгдэл өгөхгүйгээр бэхний картриджийн үзүүлэлт, гаднах байдлыг өөрчилж болно.
Бэхний картриджийг задалж, өөрчилж болохгүй. Эс тэгвээс, та хэвийн хэвлэх боломжгүй болж болно.
Хэвлэж буй зураг, ашиглаж буй цаасны төрөл, хэвлэх давтамж, температур зэрэг орчны нөхцөл байдлаас шалтгаалан дурдсан гарц өөрчлөгдөж болно.
Унагах эсвэл хатуу зүйлд цохиж болохгүй; эс тэгвээс, бэх асгарч болно.
Принтерийн толгойн оновчтой хэрэглээг хадгалахын тулд, хэвлэлийн үед төдийгүй, принтерийн толгойг цэвэрлэх зэрэг засвар үйлчилгээний үед бүх хорны картриджаас тодорхой хэмжээний бэхийг хэрэглэж болно.
Принтертэй хамт ирсэн хорны картридж доторх бэх нь анхан шатны тохиргооны үед бага зэрэг хэрэглэгддэг. Дээд зэргийн чанараар хэвлэхийн тулд принтерийн хэвлэх толгой нь бэхээр бүрэн дүүртлээ цэнэглэгдэнэ. Энэхүү нэг удаагийн үйл явцад тодорхой хэмжээний бэх хэрэглэгддэг тул дараагийн удаад дүүргэх хорны картриджтай харьцуулахад цөөн тооны цаас хэвлэж болно.