
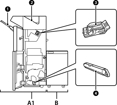
|
Nummer |
Optioneel item |
Overzicht |
|---|---|---|
|
A1 |
Staple Finisher |
Hiermee wordt papier gesorteerd en geniet voordat het wordt uitgeworpen. Met de optionele perforator kunt u perforeren. |
|
B |
Finisher Bridge Unit |
Voor bediening van de nietmachine of boekjesmaker moet u de brugeenheid installeren. |
|
|
Lade van afwerkingseenheid |
Bevat gesorteerde documenten of documenten met nietjes. |
|
|
Uitvoerlade |
Hier worden hoofdzakelijk ontvangen faxberichten opgeslagen. |
|
|
Nietjescartridge |
Voor plathechten. |
|
|
Snipperbak |
Hierin worden de perforatiesnippers opgevangen. |